每月的月初和月末,是“表哥”“表姐”最忙碌的时候。面对收集上来要整理的几十份甚至上百份表格,不仅合并汇总的工作量巨大,还要小心翼翼以防一时疏忽就要全部推倒重来。面对下面数据报送的种种痛点问题,常常感觉“身体被掏空”:
2)总会有人发来的表格出现格式错误,需要来回反复修改;3)表单收上来以后,总有人需要修改数值,修改多次不仅耽误时间,出错概率也大幅升高;4)数据报送流程长,业务人员收齐汇总后还要交给IT人员入库。
Yonghong数据填报工具的出现,犹如神兵降世,终于能让“表哥”“表姐”如释重负了。
今天小编就来分享复杂填报表的几个小妙招,帮您快速开发样式复杂的填报表,成为效率达人。
交叉样式的填报表是行式填报表的升级。与行式填报表用来填报明细数据不同,交叉样式的填报表通常用来在固定样式的表格中填写汇总数据。
1、首先,您需要使用自由表填报组件做出一个交叉表。



说明:同一次入库的多个度量列需要有相同的父单元格。否则有可能入库失败。
这样,一个交叉样式的填报表就开发完成了。我们快来看看实际的效果吧。

自由格子填报与交叉样式填报和行式填报相比区别较大。通常布局灵活,样式多变。每个单元格都相互独立。
1、利用自由表填报组件,在单元格中输入各个填报项目标签,并设置单元格边框线颜色,做出一个自由样式的表单。


2、设置填报入库关系:一个填报的单元格,对应数据库的一个字段。

仅仅两步,一个自由格子填报表就开发完成了。我们快来看看实际的效果吧。

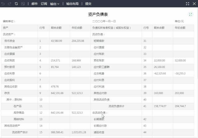
与自由格子填报(一个单元格对应数据库的一列)不同,单元格组填报表中,多个单元格组合起来构成数据库中的一列。以下图的资产负债表为例,红框内的几个单元格插入数据库的同一个字段“类别”中;蓝框内的几个单元格插入数据库的同一个字段“期末余额”中;黄框内的几个单元格插入数据库的同一个字段“年初余额”中。

1、利用自由表填报组件,做出一个自由表。然后设置填报入库关系。设置时,同时选中多个单元格作为一个源字段,并为这个源字段添加目标字段。

虽然我们选择了源字段和目标字段的匹配关系。但是,怎么样确定短期借款和哪个期末余额的单元格是一行?又和哪个年初余额的单元格是一行呢?
2、所以我们还需要设置一下单元格之间的行列关系。在行列关系弹窗中,将该自由表转换为平表,如下图。此时处在同一行的单元格,在入库时,也会是同一行。

至此,一个单元格组的填报就完成了。下面,让我们看一下实际效果吧。

为了减少用户的输入,同时降低输入的出错率,Yonghong填报系统支持根据用户录入的数据,自动计算出另一些数据值。

对于交叉填报表或自由填报表(自由式填报参数组件),可设置格间计算。格间计算的值会根据录入的值自动变化。

以上文中的资产负债表为例,红框中的内容需要存入数据库的流动负债表中。

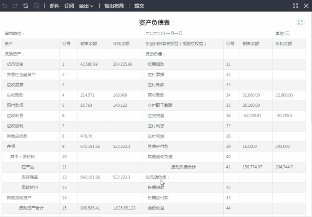
按永洪的填报逻辑,没被修改过的单元格不会入库。如果我们只填了预收账款、应付职工薪酬、应付税费、其他应付款的余额数值。

那么入库的结果如下图,只有修改了数值的数据入库了,而其他项目和余额并未入库:

那么如果希望所有负债类型、期末余额、年初余额全部入库,应该怎么做呢?
在自由表填报组件的高级属性中,勾选“填报时,提交全部数据”。


在填报数据时,企业希望尽可能保证填报的数据是规范的。可是,报表既然是给用户填的,那么当用户可以随便输入时,可想而知,自然会有五花八门的内容、格式。
比如下图,身份证号、手机号写错;日期的格式不一致;有人写了正式的职务名称,而有人用了职务的简称。这些都会导致数据质量下降,影响后续的使用。

1、尽可能地让用户从系统提供的可选项中进行选择,而不是随意输入。
方法:选中单元格,在右侧设置面板打开“编辑器”弹窗,选择下拉控件,就可以了。


同样,整数类型,可以设置控件为整数;浮点数类型,可以设置控件为浮点数;布尔类型,可以设置控件为布尔。
2、设置数据校验规则,通过一定的校验规则校验数据的正确性。
对于用户可以随意输入的文本内容,我们可以使用手机号、邮编、身份证号、邮件的规则去校验输入。


也可以通过正则表达式,制定更高级的校验规则。例如,通过正则表达式,规定单元格内容不能为空。

日期数据,可以设置日期的最大值和最小值。用户选择的值,必须在规定的日期范围内。

整数、浮点数,也支持设置最大值和最小值。当输入范围外的值,就会提示输入的内容不符合规范。

-
满足不同表样的数据填报;
-
支持计算公式,根据填报的数据,自动计算出总和、平均、权重等;
-
支持不同的填报控件:文本框、下拉框、日期选择框等;
-
支持数据校验,确保入库的数据符合规范;
-
填报表支持灵活调整字体、字号、对齐方式、边框、颜色、背景色等,让您得到最想要的格式。